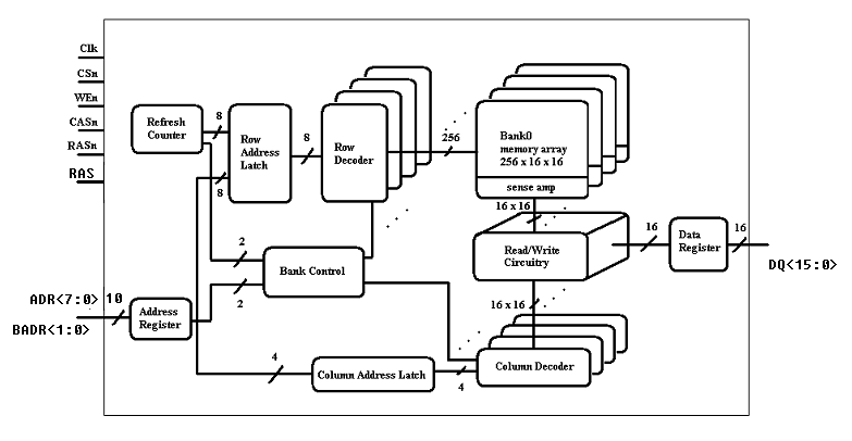
Dynamic RAM keeps data in capacitors. The data will stay there reliably for up to four milliseconds and hence every location must be read out and written back (refreshed) within this period.
DRAM is not normally put on the main SoC chip(s) owing to its specialist manufacturing steps and large area needs. Instead a standard part is put down and wired up. (DRAM is traded as a commodity like corn and gold.)
A row address is first sent to a bank in the DRAM and then one has random access to the columns of that row using different column addresses. The DRAM cells internally have destructive read out because the capacitors get discharged into the row wires when accessed. Therefore, whenever finished with a row, the bank containing it goes busy while it writes back the data and gets ready for the next operation (charing row wires to mid-way voltage etc.).
DRAM is slow to access and certainly not `random access' compared with on-chip RAM. A modern PC might take 100 to 300 clock cycles to access a random part of DRAM, but the ratio may not be as severe in embedded systems with lower system clocks. Nonetheless, we typically put a cache on the SoC as part of the memory controller. The controller may embody error detection or correction logic using additional bit lanes in the DRAM.
The cache will access the DRAM in localised bursts, saving or filling a cache line, and hence we arrange for cache lines to lie within DRAM rows.
Modern parts have programmable compensation for differing delays the PCB tracking: set up in a calibrate phase.
We may have error correction logic in controller.
The controller may keep multiple banks open at once to exploit tempro-spatial access locality.
Another block diagram:
 
  | 67: (C) 2008-13, DJ Greaves, University of Cambridge, Computer Laboratory. |